Pompa vertikal tanpa henti LW memastikan pengelolaan air limbah padat yang efisien, tanpa perlu khawatir tentang air limbah dan aplikasi industri. Desain vertikal menghemat ruang sekaligus menghindari hambatan.
Nomor Barang :
LWPesanan (MOQ) :
1Pembayaran :
Alipay PayPal westernunion T/T L/CAsal Produk :
ChinaWarna :
CustomizedPelabuhan Pengiriman :
shanghai shenzhen guangzhouWaktu tunggu :
please contact 504893184@qq.com or CP +8613696510409Kemasan :
CustomizedBahan :
Cast ironPompa Limbah Vertikal Anti-Penyumbatan
Perusahaan kami telah menciptakan tiga lini produk utama yang membentuk pompa limbah vertikal Seri LW (WL). Pompa-pompa ini dimodifikasi untuk mengakomodasi berbagai kebutuhan pengguna dan situasi pengoperasian, berdasarkan model hidrolik seri pompa limbah submersible WQ (sebelumnya QW). Sejak diperkenalkan, Seri LW telah dikenal luas dan dipuji karena desainnya yang mutakhir dan kinerjanya yang andal di pasaran.
Aplikasi Produk
Produk ini cocok digunakan untuk pembuangan limbah di area perumahan, sistem drainase di instalasi pengolahan air limbah perkotaan, stasiun drainase di sistem pertahanan udara sipil, instalasi pasokan air di instalasi pengolahan air, pembuangan limbah di rumah sakit dan hotel, lokasi konstruksi teknik kota, peralatan pendukung pertambangan dan eksplorasi, digester biogas pedesaan, dan irigasi pertanian. Produk ini mampu mengangkut air bersih, media korosif, limbah, dan sampah yang mengandung partikel padat.
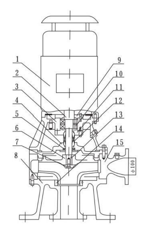
Diagram Struktur

| 1 | Motor |
| 2 | Poros ekstensi |
| 3 | Rumah bantalan |
| 4 | Penutup pompa |
| 5 | Segel oli |
| 6 | Pendorong |
| 7 | Mur impeller |
| 8 | Basis |
| 9 | Penutup bantalan |
| 10 | Bantalan |
| 11 | Dudukan segel mekanis |
| 12 | Segel mekanis |
| 13 | Kunci |
| 14 | Cincin keausan badan pompa |
| 15 | Badan pompa |